6.4. DYNAMIC FORCE ANALYSIS OF MACHINERY
In this section we shall assume that the motion of the machine parts are specified beforehand, e.g. the position velocity and acceleration of each rigid body is known or can be calculated by performing kinematic analysis. We shall also assume that the mass and the moment of inertia of each machine member is known or can be calculated from the given data. There may be external forces of known magnitude and direction or friction forces present. However, we shall assume that there is one external force (such as the input torque) of an unknown magnitude but of a known direction and a point of application. The system is in a state of dynamic equilibrium under the action of these forces. We would like to determine the joint forces, forces acting on the members and the magnitude of the unknown external force.
The above problem is commonly known as kinetostatics or Wittenbauer's second problem. Such a formulation is valid under steady state conditions and when the mechanism involved is a constrained mechanism. The input speed(s) must be almost constant for these assumptions to be valid or the changes in the velocity and acceleration of the input link is determined by some other means.
In kinetostatics we determine the velocity and acceleration of each machine member by performing kinematic analysis. If the mass and mass distribution of the members are known, we can calculate the inertia forces and torques. Next we apply D'Alambert's principle so that we can treat the fictitious inertia forces as if they are external forces. The problem reduces to static force analysis of machinery, which we have seen in Section 5.2.
![]() |
Figure shows a double slide. Link 2 is moving with a constant velocity at 2 m/s in positive x direction. Link 3 is a thin rod of mass m3 = 5 kg and length AB = 500 mm. The masses of links 2 and 4 are negligible. Determine the force F12 acting on link 2 and the joint forces that occur when the mechanism is in the given state of motion and when x = 200 mm. Assume the mechanism is operating on a horizontal plane so that we can neglect the gravitational acceleration. Also neglect friction.
As a first step, kinematic analysis must be performed. Writing the loop equation:
![]()
Equating the real and imaginary parts:

Substituting x = 200 mm we obtain: q = 113.5780 and y = 458.258 mm.
Differentiation of the above equations give us the velocity:
= 4.364 s-1 (CCW)
= -872.872 mms-1
The second differentiation yields (
):
= 8.312 s-2 (CCW)
= -10.390 ms-2
The position, velocity and acceleration of point G3 is:
![]()
![]()
![]()
substituting the known values:
aG3= 5.194ei(-p/2)= 5.194 ms-2 Ð2700
In the second step, we must determine
the inertia forces and torques. From Table 1.4 for a thin rod
. Hence IG 3=0.10417
kgm2 and:
= 25.97 N Ð 900
865 N-mm (CW)
These forces are as shown in Fig.5.48a. If a graphical solution is to be performed, inertia force and torque can be replaced by a single resultant (Fig.5.48b), which is at a distance h from the center of gravity. h is given by:
![]() |
For the force analysis we proceed as if the inertia forces were external forces and apply the methods that were described before for a force analysis.
Graphical Method.

Link 4 is a two force, link 3 and link 2 are three force members.and. For link 3, since R3i is known, we determine the point of concurrency of the three forces and draw the force polygon for the equilibrium equation R3i +F23+F43=0 as shown in Fig.5.48. For link 4, G14=-F34=F43. For link 2, F32+F12+G12=0 . Since F32 = -F23 , The force polygon for the equilibrium equation is that drawn for link 3 with all the arrows reversed. Hence G12= - R3i and F12= -F43 .
Analytical Method

In the analytical method, since the moment and force equilibrium equations are going to be used separately, one need not combine the inertia force and torque into a single resultant. The free body diagrams of the moving links are as shown in Fig.5.50.
Since:
F43=F43 Ð1800
F3i= 25.97 N Ð900
For link 3 the equilibrium equations are:
F43 - F23x = 0
F3i - F23y = 0
and the moment equilibrium about point A is:
500F43sin(180-113.578) + 250(25.97)sin(90-113.578)-865 = 0
or
458.258 F43 = 3461.981
F43 = 7.555 N Ð1800 F32= -F23 = 27.04 N Ð 106.220
F23x = 7.555 N Ð00 F12 = 7.555 N Ð00
F23y = 25.97 N Ð2700 G12 = 25.97 N Ð 2700
F23 = 27.04 N Ð-73.780 G14 = F43
6.5. DYNAMIC FORCE ANALYSIS OF A FOUR-BAR MECHANISM
In order to design links and joints one must determine the worst loading conditions of each link and joint. In order to select the driving motor characteristics, input torque for the whole cycle is required. In such cases analytical methods suitable for numerical computation is utilized. In this part a general dynamic analysis of a four-bar mechanism will be explained and the results will be applied to a particular four-bar for a complete force analysis.
![]() |
Referring to the figure, the equations for the position, velocity and acceleration analysis of the four-bar mechanism are:
Position Analysis

Note that rcosf and rsinf terms must be solved for r and f simultaneously and the correct quadrant must be ensured. The term s = ±1 depending on whether the mechanism is of open or cross configuration.
Velocity Analysis:

Acceleration Analysis


The above equations can be written in different forms.
Acceleration of the centers of gravity
![]()
![]()
![]()
![]()
![]()
![]()
Using the above equations, one can determine the angular acceleration of the links and the linear accelerations of the centers of gravity for any input condition (input position, velocity and acceleration).
![]() |
Note that:
F2i=-m2aG2 , F3i=-m3aG3, F4i=-m4aG4 and
T2i=-IG2a12 , T3i=-IG3aG3 , T4i=-IG4a14 ,
The free body diagrams of each moving link can be drawn and the equilibrium equations can be written:
![]() |
.
F34x +G14x+F14cosf4-m4aG4x=0 (1)
F34y +G14y+F14sinf4-m4aG4y=0 (2)
F34ya4sin(p/2-q14) + F34xa4sin(-q14) + F14f4sin(f4-q14-g4) - I4a14
- m4aG4xg4sin(-q14-b4)-m4aG4yg4sin(p/2-q14-b4) = 0 (3)
![]() |
F23x -F34x+F13cosf3-m3aG3x=0 (4)
F23y -F34y+F13sinf3-m3aG3y=0 (5)
F34xa3sin(p-q13) + F34ya3sin(-p/2-q13) + F13f3sin(f3-q13-g3) - I3a13
- m3aG3xg3sin(-q13-b3)-m3aG3yg3sin(p/2-q13-b3) = 0 (6)
For link 2

-F23x +G12x - m2aG2x=0 (7)
-F23y +G12y - m2aG2y=0 (8)
F23xa2sin(p-q12) + F23ya2sin(-p/2-q12) + T12 - I2a12
- m2aG2xg2sin(-q12-b2)-m2aG2yg2sin(p/2-q12-b2) = 0 (9)
Hence, we obtain nine linear equations in nine unknowns (Gl4x, Gl4y, F34x, F34y, F23x, F23y, Gl2x, Gl2y and T12). If a computer subroutine for the matrix solution is available, these equations can be solved directly for the unknowns. However, it is much simpler to solve equations (3) and (6) simultaneously for F34y and F34x and then solve for each unknown from the remaining equations.
The solution is:
A= + I4a14 +m4 g4[aG4y cos(q14+b4) - aG4xsin(q14+b4) ]- F14f4sin(f4-q14-g4)
B= + I3a13 +m3 g3[aG3y cos(q13+b3) - aG3xsin(q13+b3) ]- F13f3sin(f3-q13-g3)
F34x= [Aa3cosq13+Ba4cosq14] /[a3a4sin(q13-q14)]
F34y= [Aa3sinq13+Ba4sinq14] /[a3a4sin(q13-q14)]
G14x=-F34x+m4aG4x-F14cosf4
G14y=-F34y+m4aG4y-F14sinf4
F23x= F34x+m3aG3x-F13cosf3
F23y= F34y+m3aG3y-F13sinf3
G12x= F23x+m2aG2x
G12y= F23y+m2aG2y
T12 = F23ya2cos(q12) - F23xa2sin(q12) + I2a12
+ m2 g2[ aG2ysin(q12+b2) -aG2xsin(q12+b2)]
One can as well use the principle of superposition and consider forces acting on each link at one time and later add all the force components to find the resultant joint forces. The equations thus found will be similiar to the ones obtained above (written in a different form). This is left as an exercise.
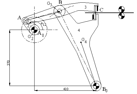
Example
![]() |
The four-bar mechanism shown in is used to cut running strip of material. The input link is rotating at a constant speed of 900 rpm CCW. The link dimensions are: A0A=85mm, AB=235mm, B0B=550mm, BC=238mm, AC= 467mm B0C=487 ÐBAC3=7.60 , ÐBB0C4=25.60. Using AutoCad solid modeller, the mass properties for links 3 and 4 are found as: m3= 2 kg, k3= 268mm, AG3=231mm, ÐBAG3=10 (CW), m4=5.1 kg, k4=424mm , B0G4= 305mm , ÐBB0G4=70 (CW). For link 2 m2= 3 kg, k2= 100mm and its center of gravity is coincident with A0. We are to determine the input torque required and the joint forces. We can neglect friction. A cutting force of 2000 N acts vertically on both links 3 and 4 at point C when the crank angle q12 is 1240<q12<1560.
MathCad solution for this example is as follows:
Link dimensions:
![]()
![]()
"Constant speed is
assumed"
"Increment crank angle for every 2 degrees."
![]()
"m is crank angle in degrees"
"Solve for position variables"
![]()
![]()

![]()


"The angular velocity (s-1) and acceleration (s-2) of the links are as follows:”


"Acceleration of the centres of gravity of the links (in mm/s2):"
![]()
![]()
![]()
![]()
![]()
"Mass properties (mass in kg and the radii of gyration, ki, in mm)"
![]()
This constant C is to be used to convert mm to m. (Note that 1kg m/s2= 1 N)"
The external forces:
![]()
This external force will act vertically on both links 3 and 4 in opposite direction

Determine the joint forces and the input torque. Note that the joint forces are in Newton and the torque is in Newton-meter
![]()
![]()


![]()
![]()
![]()
![]()
![]()
Input torque as a function of crank rotation:

Convert the forces to polar form
![]()
![]()
![]()
